FEFCO-Katalog

Falt­hüllen und Trays

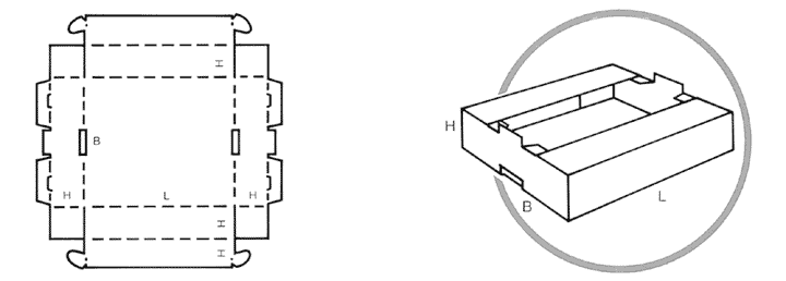
Falthüllen und Trays bestehen im allgemeinen aus einem Zuschnitt. Zwei oder alle Seitenwände und der Deckel sind am Boden angelenkt. Diese Hüllen werden gewöhnlich ohne Heften oder Kleben gebrauchsfertig hergerichtet. Sperrvorrichtungen, Handgriffe, Verkaufssteller usw. können bei dieser Ausführungsart mitvorgesehen werden.