FEFCO-Katalog

Fertig geklebte Schachteln

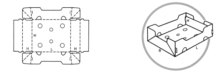
Fertig geklebte Schachteln sind einteilige, faltbare Schachteln, die zusammengelegt geliefert und durch einfaches Aufrichten gebrauchsfertig aufgestellt werden. Die Schachteln können mit einem Faltboden (Faltbodenschachtel) oder mit Diagonalbiegung (Aufrichteschachtel) ausgerüstet sein.